
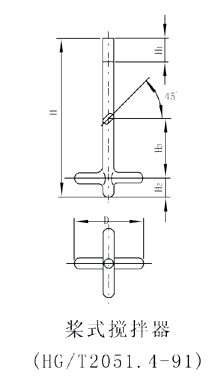
| 公称容积(L) | 代 号 | |||||
| d×s | D | H1 | H2 | H3 | H | |
| K-50 | Φ40×5 | 300 | 105 | 70 | - | 905 |
| K-100 | Φ40×5 | 300 | 120 | 70 | - | 995 |
| K-200 | Φ50×5 | 400 | 120 | 80 | 150 | 1215 |
| K-300 | Φ65×5 | 500 | 120 | 100 | 200 | 1365 |
| K-500 | Φ65×5 | 500 | 120 | 100 | 220 | 1580 |
| K-1000 | Φ80×6 | 680 | 155 | 120 | 300 | 1840 |
| K-1500 | Φ80×6 | 680 | 155 | 120 | 340 | 2065 |
| K-2000 | Φ80×6 | 680 | 155 | 120 | 340 | 2415 |
| K-3000 | Φ95×8 | 720 | 155 | 135 | 360 | 2530 |
| K-5000 | Φ95×8 | 720 | 155 | 135 | 360 | 3148 |
| F-3000 | Φ95×8 | 720 | 155 | 135 | 360 | 2530 |
| F-5000(Φ1600) | Φ95×8 | 720 | 155 | 135 | 360 | 3250 |
| F-5000(Φ1750) | Φ95×8 | 720 | 155 | 135 | 360 | 3148 |
| F-6300(Φ1750) | Φ95×8 | 720 | 155 | 135 | 360 | 3504 |
| F-6300(Φ1900) | Φ95×8 | 820 | 155 | 135 | 410 | 3071 |
| F-8000(Φ2000) | Φ95×8 | 880 | 155 | 135 | 440 | 3637 |
| F-8000(Φ2200) | Φ95×8 | 980 | 155 | 135 | 440 | 3020 |
| F-10000(Φ2200) | Φ110×10 | 980 | 200 | 155 | 490 | 3775 |
| F-10000(Φ2400) | Φ110×10 | 980 | 200 | 155 | 490 | 3308 |
| F-12500(Φ2200) | Φ110×10 | 980 | 200 | 155 | 490 | 4295 |
| F-12500(Φ2400) | Φ110×10 | 980 | 200 | 155 | 490 | 3738 |
| F-20000(Φ2600) | Φ140×12 | 1080 | 200 | 175 | 540 | 4866 |
相关文档