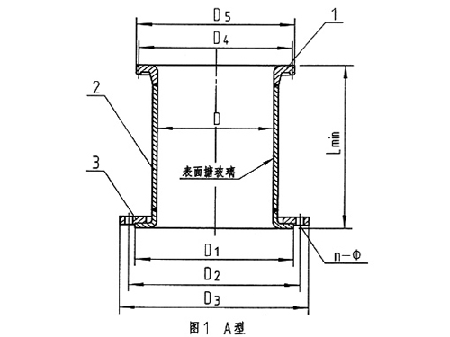
搪玻璃设备配件的优势特点
搪玻璃设备配件是涂烧在金属钢坯表面上的无机玻璃瓷釉。那么好我们就先说出个优点:大家都知道金属是比较容易受强酸强碱的腐蚀造成生锈等等,然而我们通过在金属表面进行瓷釉涂搪可以防止金属生锈,因为金属表面的搪玻璃层使的金属在受热过程中不会形成氧化层并且搪玻璃具有防腐蚀的能力能抵抗各种液体的侵蚀从而保护好我们的金属表层。
第二个优点:搪玻璃不仅安全无毒且易于洗涤洁净,可以用作于日常生活中使用的饮食器具和洗涤用具,所以我们把搪玻璃搪烧在金属表层后在特定的条件下还具有硬度高、耐高温、耐磨以及绝缘等优良性能,瓷釉涂搪在金属坯体上表现出的这些特性使得我们的搪玻璃设备实用于化工医药等行业所以搪玻璃设备有了加广的用途。
后一个优点:大家都知道搪玻璃层光滑,所以给我们搪玻璃设备造就了一个美丽的外表。